高性能战斗机与发动机协同设计关键技术
Key technologies in collaborative airframe⁃engine design for high performance fighters
通讯作者: .E-mail:wanghf611@163.com
收稿日期: 2023-12-13 修回日期: 2023-12-25 接受日期: 2024-01-16 网络出版日期: 2024-01-19
| 基金资助: |
|
Corresponding authors: E-mail:wanghf611@163.com
Received: 2023-12-13 Revised: 2023-12-25 Accepted: 2024-01-16 Online: 2024-01-19
未来作战环境对战斗机提出了更高、更全面的性能需求,促使战斗机与发动机之间更深层次的耦合,在研制过程中开展更加紧密的协同设计。回顾多年来战斗机设计中飞/发双方为实现综合最优而共同努力的理论研究和实践历程,辨析提出飞/发协同设计理念。通过分析穿透性制空等作战需求,提出高性能战斗机的主要能力特征,探究面向未来的飞/发协同设计需求。从飞行性能、隐身特性、飞行控制、全机能量4个设计视角提出相应的关键技术,并给出可能的实现途径和设计研究建议。
关键词:
The future operational environment imposes higher and more comprehensive requirements for the performance of fighters, calling for deeper integration between fighter airframe and engine and closer collaborative design during fighter research and development. Building on theories and practices for optimum airframe-engine integration in fighter design in the past decades, this paper proposes a collaborative airframe-engine design concept. Through an analysis of the combat requirements of Penetrating Counter Air (PCA) and other operational concepts, this paper then presents the essential capabilities of high performance fighters and looks into the requirements of future-oriented collaborative airframe-engine design. The key technologies concerning flight performance, stealth characteristics, flight control and aircraft energy are discussed, and the possible implementation approaches and suggestions for design and research are also provided.
Keywords:
本文引用格式
王海峰.
WANG Haifeng.
就战斗机研发工程实践而言,飞机与发动机在设计中不断加深综合程度的需求日益强烈,但很多情况下仍然是飞机与发动机先“各干各的”,再进行集成。随着大国竞争[4]形势发展,美欧等在加快推进新型航空装备研制,未来高性能战斗机的需求逐渐清晰。基于其更高、更全面的性能需求,战斗机与发动机全周期协同设计成为关键。本文回顾并探究飞/发协同设计理念,提出面向未来的高性能战斗机与发动机协同设计中的关键技术,以及可能的实现途径和设计建议。
1 飞机与发动机协同设计的发展历史
喷气式发动机的问世,在消除螺旋桨约束的同时,给飞机设计带来了新的特征。例如,取消大直径螺旋桨使战斗机可以采用前三点式起落架,明显改善了飞行员的起降视野,以适应起降速度的提高。但早期涡喷发动机推重比很低,导致当时的战斗机设计极度关注降低进排气管道重量和摩擦损失,多数飞机选择了发动机短舱形式,如Me-262采用机翼发动机短舱布局,P-59把发动机短舱集成到翼根,雅克-15则把发动机短舱设在前中机身下方。
20世纪50~60年代,超声速竞赛促使战斗机在气动布局和结构设计上充分考虑推进系统,催生了初步的综合设计思考。首先,将进气道、发动机、排气系统纳入机体形面内,按内外流进行研究。其次,为提高超声速飞行条件下的进气压缩和排气膨胀效率,可调的外压式或混压式进气道以及引射喷管或收扩喷管被广泛使用。其中特别是马赫数范围从0到超过2的进/发匹配,成为困扰这一时期飞机设计的重大问题。1957年,英国尼克尔森在《发动机-飞机综合》一文中讨论了这一时期的关注点,包括喷流与机身的干涉、大型进排气系统的综合、巡航和起降阶段的射流增升等[8]。
20世纪60年代,垂直/短距起降飞机的研制潮流把飞机与发动机的设计协作推到新的高度。为了实现垂直/短距起降能力,必须设计专门的动力系统,使之包含垂直升力、前进推力和悬停/低速状态的反作用控制力。而为了使悬停状态能够平衡可控,动力装置的布局必须使合升力通过重心,反作用控制系统喷口处于远离重心的位置[9]。“鹞”式战斗机选择了在机身中部安装1台带4个旋转喷管的涡扇发动机,前2个喷管喷出风扇外涵道气流,后2个喷管则喷出核心机的燃气喷流[10]。这种形式实现了单发垂直/短距起降,但大涵道比无加力涡扇发动机无法实现超声速飞行。雅克-38选择了2台升力发动机和带分叉旋转喷管主发动机的动力系统[11]。这种构型简化了发动机设计,但单发失效是致命的。1966年,美国罗斯在《一种V/STOL推进系统开发与测试的综合方法》一文中讨论了升力发动机和升力风扇等不同的构型设计,指出垂直/短距起降飞机应在设计和测试阶段完全集成推进系统[12]。
20世纪70年代,第三代战斗机转向追求亚跨声速机动性。这个阶段对发动机提出了高推重比和大推力的要求,中等涵道比加力涡扇发动机成为主流选择。进气道设计上重点关注了提高亚跨声速的进气效率和低速大迎角的稳定工作,亚跨声速性能好且重量轻的定几何进气道再次流行,如F-16;而可调进气道则多选择上方可调压缩斜板形式,如F-15。上方压缩斜板按进发匹配调整的同时产生可观的升力,导致影响全机的配平,试飞中发现进气道调节造成俯仰力矩与风洞试验有差异[13]。排气设计重点关注不同喷管间距对亚声速和超声速阻力的影响,以及中央体整流措施的效果,最终F-15选择了超声速性能更好的窄间距布局,F-14和苏-27则选择宽间距布局。1983年,里基在《战斗机机体-推进系统综合》一文中介绍了这个时期对进、发、排布局所做的大量研究[14],数学建模和数值仿真方法开始在这一领域运用。1979年,美国国家航空航天局(NASA)在集成19种进气道特性和9种尾喷管特性的风洞试验结果的基础上,开发了发动机安装性能计算程序[15]。
20世纪80~90年代,第四代战斗机开始设计,对隐身、超声速巡航和过失速机动的追求,使飞机和发动机在设计之初就需进行深入合作。隐身要求限制了进气道形式的选择,大部分四代机选择唇口和侧壁都符合平行原则、管道大S弯的定几何入口进气道。同时,隐身要求喷管外形与飞机后体采取统一的设计。在YF-22和YF-23的竞标阶段,通用电气和普·惠公司都为两型飞机分别设计了二元推力矢量喷管和单边膨胀喷管[16]。在飞机的超声速巡航要求下,军用涡扇发动机转向使用小涵道比,由此带来的耗油率上升又促使发动机考虑选择更新的技术,如YF120发动机的变循环设计。在飞机的过失速机动要求下,发动机推力矢量喷管走向实用。1986年普·惠公司发表《战斗机飞机/推进系统综合》[17];随后1992年通用动力、麦克唐纳、罗克韦尔、莱特实验室等美国主要的飞机和发动机研制单位也发表了系列战斗机机体/推进系统综合论文,重点讨论了运用推力矢量控制缩减控制面和拓展机动范围的考虑[18-21]。
进入21世纪,战斗机的信息化程度迅速提高,雷达、通信、电子等载荷的功率大幅提升,能效和热管理成为战斗机设计中的瓶颈,飞/发设计协作的范围不断扩大。这一时期,美国逐步实施了自适应多用途发动机技术(ADVENT)、自适应发动机技术过渡(AETP)等研究计划,同时开展综合飞行器能量技术(INVENT)、高效超声速飞行器探索(ESAVE)等全机能、热、推进综合优化研究[22],将飞机布局、发动机构型、机上能源形态、能源调度管理等作为一个整体进行多学科优化。
纵观战斗机的发展历史,无论称为飞/发综合、飞/发协作还是飞/发一体,飞/发两方一直围绕综合最优这一目标而共同努力,且不同时期有不同的认识和设计关注点,如图1所示。从研究工作的长期发展、双方的交叉耦合程度以及对双方设计人员深入协作的要求来看,本文建议使用“飞机与发动机协同设计”表述,简称“飞/发协同设计”。
图1
图1
战斗机飞/发协同设计发展历史
Fig.1
Historical development of collaborative airframe-engine design for fighters
2 高性能战斗机飞/发协同设计需求
在此作战需求牵引下,美国NGAD和英、日等国合作研制的“全球空战项目”(GCAP)等战斗机概念,均体现出高性能战斗机的主要能力特征,包括:
1) 更全面的飞行性能,能够兼顾纵深穿透和典型交战点的机动性。
2) 更高的隐身性能,拓宽频域和空间范围,使之能够穿透高威胁区域纵深。
4) 强态势感知和电子对抗能力,能够优先躲避敌方探测并在不可规避时获得先视先射优势[25]。
实现这样的能力特征,要求飞机与发动机从各个维度进行深入的协同设计,以满足周期、成本、技术风险等约束,整体达到最优和均衡。
飞行性能对升阻比和耗油率提出了更高的需求。飞机升阻比在外形布局的基础上受内外流相互作用和发动机喷管收扩改变局部外形的影响。耗油率一方面受飞机进排气效率、功率提取和引气等的影响,另一方面受任务中各段飞行条件与发动机设计点匹配程度的影响。纵深穿透和典型交战点速度差异较大,优化设计更为困难,必须开展面向飞行性能优化的飞/发协同设计。
武器装载的增大带来了飞机增重和机身横截面积增大的问题,需要提升推力以平衡阻力、重量影响。与此同时,还存在大尺寸武器舱在全机平衡、传力路径方面的约束,增加了进排气和发动机布置、内流道设计的复杂性。
态势感知与电子对抗领域,对孔径增益和功率的需求多多益善。高增益对孔径尺寸的要求受到气动外形和结构布局的制约,因此转而不断推高对功率的需求,从而造成散热的需求水涨船高。未来的高性能战斗机迫切需要通过飞/发协同设计,共同努力解决功率提取和热耗的问题。
综上所述,高性能战斗机与发动机协同设计主要包括:
1) 面向飞行性能优化的飞/发协同设计。
2) 面向隐身性能优化的飞/发协同设计。
3) 面向飞行控制优化的飞/发协同设计。
4) 面向全机能量优化的飞/发协同设计。
3 面向飞行性能优化的飞/发协同设计
根据高性能战斗机兼顾纵深穿透和典型交战点的机动性的性能需求,在设计上应考虑:
1) 性能设计点选择上以作战需求为目标,关注典型作战任务的巡航和机动(中高空亚跨声速和高空超声速)。
2) 飞/发协同设计应围绕设计点开展,主要以巡航设计区间低阻力和机动设计点剩余推力为目标进行“推-阻”综合优化。
3) 动力系统兼顾单位耗油率(SFC)和超声速推力,但如两者的最优化不能兼得,优先保障SFC,可适当放宽中间状态推力。
3.1 飞/发设计点匹配
目前第四代战斗机突出超声速巡航能力,要求在巡航高度上获得较大的中间状态推力,但发动机以此作为主要设计点会对巡航耗油率造成明显的不利影响,战斗机作战半径因此将出现显著恶化。而当需要考虑更全面的飞行性能时,飞机巡航升阻比与发动机耗油率的匹配成为设计关键。
根据布雷盖公式:
式中:
图2
图2
不同K和SFC组合下飞机重量随半径变化趋势
Fig.2
Aircraft weight as a function of operational radius for different combinations of K and SFC
图3
与单位耗油率对整机重量的巨大影响相比,发动机推重比高低所带来的数百千克重量差(典型的如考虑1台推力150 kN的发动机,将其推重比从8降到7,仅增重约270 kg)为相对小量,刻意追求的意义较小。这一判断也同样解释了美国新一代发动机不再提出更高的推重比指标,而是选择发展结构复杂(必然增加重量)的三涵道自适应发动机。
同时,飞机较大的任务油量,也意味着起飞推重比与任务点的作战推重比有十分显著的差异。在满足起飞性能要求时,起飞推力不应作为表征机动性的设计点,而应重点关注典型作战条件的推力。目前,全权限数字式发动机控制(FADEC)有能力在部分范围内调节发动机高度与速度特性,拉高典型作战条件的推力,从而允许较低的起飞推力状态。例如,美国曾经在F-15上试飞一种F100发动机的性能寻优控制算法(PSC)验证了最大推力、最小燃油消耗等多种寻优控制模式。在最大推力模式下,推力平均提高4%;在最小燃油消耗模式下则使9 144 m高度、马赫数1.5的耗油率降低超过9%[32]。
3.2 推阻优化设计
以F-22为代表的第四代战斗机的超声速巡航是推阻优化设计的典型用例,但由于隐身要求带来的主战武器内埋、远程所需的高载油系数,以及高机动性带来的低翼载要求,导致飞机最大横截面积居高不下。因此全机气动力、进气效应和排气效应等任一单项因素的设计偏差偏离预期,均可能导致超声速巡航能力无法实现。如图4的算例所示,增加5%的全机可用推力就能使平衡马赫数得到可观的增长。因此,通过推阻最优设计,能够在飞/发双方均已处于相对极限的设计状态下,进一步提高全机超声速巡航的使用空间。
图4
图4
可用推力增长的超巡收益
Fig.4
Supersonic cruise gain as a function of increased available thrust
3.2.1 进/发匹配
综合考虑进气道性能、隐身及重量需求,隐身战斗机普遍采用定几何进气道设计,其中典型形式包括基于平面斜激波设计的Caret进气道和基于圆锥激波设计的Bump进气道。
定几何进气道的设计往往以满足发动机飞行包线内最大流量需求为首要前提,因此在发动机装机后,几个典型状态表现出不同特征:
1) 起飞与机动状态:该状态下发动机换算转速与换算流量均达其最大值。为保证发动机的流量需求,进气道喉道面积基本按照该状态确定,故此时进气道溢流量最小。
2) 亚声速巡航状态:此时发动机处于节流状态,发动机换算流量低于最大值,进气道溢流量较大,存在较大的溢流阻力,一般可占全机零阻的5%~10%。
3) 跨声速加速状态:该状态下发动机处于大转速大流量状态,其换算流量与起飞、机动等状态相当,进气道溢流量与溢流阻力均较小。
4) 超声速巡航与大马赫数状态:战斗机进入超声速飞行状态,发动机换算转速与换算流量均降低,进气道的溢流阻力显著增大,可占全机零阻的5%~7%。
图5
图6
1) 发展自适应变循环发动机技术。变循环发动机可通过调节涵道比实现进发双方流量供需的平衡,从而大幅减小溢流量与溢流阻力。因此,采用变循环发动机既能适应战斗机高马赫数、高机动飞行,又能在亚声速、超声速巡航时减少溢流阻力,提升战斗机作战半径。
以AETP为例,美空军认为换装该计划研制的发动机可以使F-35作战半径提高30%,加速性提升18%,并在战斗巡逻(CAP)任务中减少45%的加油机架次需求[33]。
2) 调整飞机/发动机设计匹配点,比如选定战斗机长时间、高频率使用的巡航点为进气道设计工况。在跨声速加速段通过降低发动机换算转速、增加耗油率的方式进行过渡,在起飞、机动等工况下采用辅助进气等流动控制措施。此方案有利于缩小进气口尺寸包络,减小进气道迎风阻力乃至全机阻力。例如,苏-57即在进气道底部开了辅助进气门,如图7所示。
图7
图7
苏-57飞机进气道下方打开的辅助进气门
Fig.7
Opened auxiliary air inlet under inlet of Su-57 Aircraft
3) 采用变几何进气道方案,如可调Caret进气道、三维可调Bump进气道等。在上述不同飞行工况下,根据发动机流量需求自适应调节进气道喉道面积,从而解决发动机亚跨超声速不同工况下流量需求差异带来的进发匹配难题,大幅减小战斗机进气道溢流阻力。
图8
图9
3.2.2 发/排匹配
图10
综上所述,发动机仅考虑自身因素,根据有限协调约定的指标参数独自完成设计的方式不利于飞机后体阻力最优设计。综合考虑发/排最佳匹配与飞/发后体推阻的优化设计,可一定程度实现当前高性能战斗机减阻需求。综合考虑飞机后体布局限制、尾喷管内喉道可调面积、尾喷管长度、发动机尾喷管调节片形状、飞机后体阻力变化趋势、发动机推力性能变化趋势、发动机和飞机重量代价、重心变化等因素开展飞机后体阻力/发动机气动综合设计,可以实现推力-飞行后体阻力最优化设计,提高飞机的飞行性能。
典型超巡点(标准大气条件,飞机高度11 km、马赫数1.5,发动机中间状态)的计算结果表明,开展飞机后体阻力/发动机气动综合设计可获得可观的推/阻综合设计收益,如图11所示。
图11
图11
典型点推/阻最优设计综合收益
Fig.11
Comprehensive gain of optimal thrust-drag design at typical points
4 面向隐身性能优化的飞/发协同设计
发动机的雷达和红外辐射信号对飞机隐身特征影响极大,主要解决措施包括:
1) 通过遮挡和吸收等措施降低雷达辐射。
2) 通过发动机热力参数优化、部件冷却/遮挡和喷流掺混以及主动控制等措施降低红外辐射。
4.1 飞/发协同雷达隐身优化设计
4.1.1 进气道/发动机风扇一体化设计
飞机进气道管道和发动机风扇组成的进气道腔体,是战斗机前向的强散射源。单纯追求进气效率和总压恢复性能的直管进气道会使机头方向产生很强的镜面回波,即便偏离正向的入射波也将因腔体效应在很宽的范围内产生较强的回波。合理的管道设计及与之相配合的电磁波吸收措施是实现其低散射的关键。
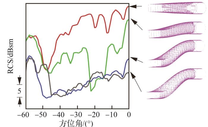
当发动机风扇未完全被进气道遮挡时,通过增加管道“弯度”可以对进气道腔体散射取得较好地抑制效果;当发动机风扇被完全遮挡以后,再增加管道的“弯度”,则气动性能急剧下降且进一步降低进气道腔体散射的效果不明显,如图12所示。
图12
图12
不同弯度进气道的RCS对比
Fig.12
Comparison of RCS of inlets with different bending conditions
进一步抑制进气道腔体散射,除涂敷雷达吸波材料(RAM)外,在进气道腔体内加装吸波导流体也是有效手段之一。吸波导流体一方面可以增加对发动机的遮挡,另一方面也可以改变电磁波在进气道管道内的传播途径和方式,从而提升管道内吸波材料的吸收效率。同时由于吸波导流体自身具备较高的吸波效能,因而可以进一步衰减进入进气道的电磁波。但吸波导流体会引起管道气流总压恢复系数(σ)的降低,如对X-32验证机吸波导流体进行气动仿真的图13所示。
图13
图13
X-32验证机的吸波导流体及气动仿真云图
Fig.13
Wave absorbing guide vanes and aerodynamic simulation nephogram for X-32 demonstrator
若将飞机进气道导流体推后到发动机风扇入口前,与风扇机匣、支板、帽罩及风扇叶片进行一体化设计,可形成具有高总压恢复性能、高吸波性能、防鸟撞、防冰、减重等功能的集成风扇吸波装置。从“直管道+风扇集成吸波装置”的前向RCS仿真结果来看,与无隐身措施状态相比,前向大角域范围内RCS降幅都较大,如图14所示。
图14
图14
“直管道+风扇集成吸波装置”前向RCS缩减量仿真
Fig.14
Forward RCS reduction simulation for “straight-through duct + integrated fan with wave absorber”
4.1.2 发动机舱引气冷却一体化设计
发动机舱环境温度约束要求采取通风冷却措施,常规隐身飞机发动机舱采用进/排气格栅,但为实现更好的隐身性能,用于发动机舱通风冷却的进气格栅面积和格栅孔尺寸将受限,导致格栅进气效率不高,且格栅进气效率还与飞行姿态、飞行速度等因素相关,如图15所示。
图15
图16
4.1.3 喷管/后体一体化设计
二元矢量喷管具有调节机构简单、易于实现后向隐身设计的优点。相比于传统的轴对称喷管,二元喷管更适合与飞机后体进行融合设计,能够消除喷管与后边条之间的耦合效应,对飞机前侧向RCS产生有利影响,如图17所示。
图17
图17
轴对称喷管(左)与二元喷管(右)前侧向RCS成像对比
Fig.17
Comparison of forward lateral RCS imaging of axisymmetrical nozzle (Left) and two-dimensional nozzle (Right)
二元喷管外罩型面将对飞机后体阻力和RCS产生影响。连续弧形类型的喷管外罩后体阻力更小,同时在飞机前、后向±15°方位角域内的RCS比拐折类型的喷管外罩显著降低,如图18所示。
图18
图18
拐折型与连续弧形喷管外罩对比
Fig.18
Comparison of housings of sharp bending nozzle and continuous arc nozzle
为减少飞机后向RCS特征,需对发动机喷管腔体内各强散射部件(如涡轮叶片、中心锥支板、加力燃烧室等)进行气动/隐身一体化综合设计,集成支板、加力火焰稳定器、喷油管路等部件,形成能够遮挡涡轮叶片、引入外涵冷气冷却降温、稳定组织加力燃烧等功能的一体化加力燃烧室,同时在其表面应用耐高温隐身材料,可明显降低喷管腔体终端的散射量级,达到较好的飞机后向隐身效果,如图19所示。
图19
图19
常规加力燃烧室与一体化加力燃烧室对比
Fig.19
Comparison of conventional and integrated afterburning combustion chambers
4.2 飞/发协同红外隐身优化设计
4.2.1 飞/发红外隐身顶层协同设计
图20
4.2.2 发动机总体热力参数一体化设计
图21
图21
设计变量对红外特征的敏感性
Fig.21
Sensitivity of design variables to the infrared signature
4.2.3 排气系统/后体一体化设计
图22
图23
图23
轴对称喷管(上)与二元喷管(下)掺混对比
Fig.23
Comparison of mixing of axisymmetrical nozzle (Up) and two-dimensional nozzle (Down)
图24
4.2.4 冷介质/气溶胶喷射主动红外抑制
作为针对红外导弹的末端对抗手段,可采用向发动机尾喷管热壁面喷射冷介质、喷流喷射气溶胶等主动红外抑制措施。主动红外抑制系统存在以下难点和挑战:第一,高效反应和喷射能力,末端红外对抗对时机的要求极高,对释放系统的决策算法和响应时间提出了高要求,同时需在极短时间内喷出足够的浓度;第二,高效遮蔽性能,飞机高速飞行时流场高速多变,需充分研究红外抑制材料及释放系统在高速飞行状态下的工作性能;第三,重量和空间代价,需要增加喷射口盖、喷射动力源、存储罐和管路等系统,且安装后不能破坏原后体轮廓。
图25
图25
主动红外抑制地面试验系统架构
Fig.25
Architecture of ground test system for active infrared suppression
图26
5 面向飞行控制优化的飞/发协同设计
针对未来高性能战斗机新型气动布局所面临的宽速域范围内单纯气动舵效难以获得满意的增稳和控制效果问题,需要引入动力参与控制。发动机与控制的相互耦合作用,一是通过推力矢量偏转或分布式推力差,直接对飞机产生力和力矩,从而与气动舵面共同参与飞行控制;二是通过调整飞行控制策略来适配发动机特性,以获取飞机整体层面的性能收益,主要目标是:
1) 在常规包线内飞行时,提供多轴向的控制增稳。
2) 在包线的边界处(失速、过失速条件等),应急使用保证安全。
推力矢量控制的实现形式包括机械式和流体式两种路线,但目前有实际应用案例的仅为机械式。机械偏转改变了后体外形和喷管内部的形状,需与隐身措施综合考虑。
与气动舵面控制不同,推力矢量的有效性与发动机可靠性相关联。因此,推力矢量与气动舵面综合控制在设计上的原则通常为:即使推力矢量失效(包括发动机停车失去推力),气动舵面仍能保持飞机安全可控。
5.1 发动机参与提供的飞行控制能力
飞行控制的场景,一方面是长周期外回路,主要优化焦点在于飞/发的性能特性匹配,以综合实现更为经济的远程久航,抑或通过推力偏转参与稳态配平以进一步降低舵面偏转所致的隐身性能损失,此类参与近似于前襟预置偏度的动态调节。另一方面是短周期内回路,重点则是发动机推力矢量直接对飞机产生旋转力矩作用而参与到高动态的飞行控制。
此前的传统布局战斗机,发动机推力矢量更多的是在气动控制能力急速衰减的过失速迎角区扮演替代的作用,而对于常规飞行状态则因远小于气动控制能力而贡献较小。
高性能战斗机对隐身能力的追求所主导的飞机布局演化,正在对传统飞行控制能力产生不利影响。这一控制能力缺口在起降等低动压飞行状态尤为凸显,亟需发动机推力矢量的补充。
而在左边界安全飞行和过失速迎角飞行方面,自动抗/改尾旋功能是高性能战斗机的标配能力。传统布局战斗机通过气动舵面来实现,其代价是必须在俯仰和偏航轴保留充足的控制力矩能力。通常来说,希望纵向恢复力矩系数在全迎角范围内的预留裕度不大于-0.03[45],而航向则通过鸭翼、副翼或平尾的差动等方式留够制止偏航旋转的能力,原则上不低于:
式中:
| 参数 | 数值 |
|---|---|
| 翼展b/m | 9.144 |
| 参考面积S/m2 | 27.87 |
| 偏航惯量IZ /(kg∙m2) | 85 552.1 |
| 最大推矢偏转角 | 20 |
| 安装推力 | 53.8 |
| 发动机喷管力臂L/m | 6 |
| 俯仰惯量IY /(kg∙m2) | 75 673.6 |
| 平均气动弦长c/m | 3.45 |
| 参考重心 | 0.35c |
| 重心 | 0.3c |
以纵向俯仰力矩能力为基础,根据
推矢的等效力矩系数在表速300 km/h、600 km/h(推矢使用包线表速限制)状态分别约为0.280、0.067 6,虽然随动压增大而反比减小,但量级仍较为可观,由此放宽一定的可控重心后限约束(后移量可达4.8%MAC),从而为总体布局按隐身需求设计平面形状创造条件,如图27所示。
图27
图27
推矢附加能力带来的放宽重心后限效应
Fig.27
Rear C.G. limit relaxation effect of additional thrust vectoring capability
综上,发动机推力矢量对高性能战斗机飞行控制的作用,在常规飞行和过失速飞行两个层面都扮演着愈发重要的角色。
5.2 推力矢量的控制策略
发动机推力矢量的实际能力同时与推力线偏转角度和推力大小相关,导致控制特性较气动舵面存在迥然不同的差异,需要飞行控制设计中加以参考:一是发动机推力动态时滞明显,通常达到1~2 s左右,需要预留合适的稳定裕度;二是推力矢量偏转把持的可用时间可能受限,这与材料耐高温特性有关,需要控制上的快进快出;三是在左边界乃至过失速飞行迎角区,由于需要大状态推力矢量能力,发动机与飞机的陀螺进动耦合效应凸显,形成对飞行控制的干扰作用,需要在控制上具有足够的抗扰考虑。
对于常规飞行状态,推力矢量的典型作用域是在马赫数0.6以下,其控制策略主要是随飞行状态进行偏置调参使用,以改善飞机本体的力矩特性、配平飞机本体不对称特性、起降配平特性优化等。
更凸显推力矢量价值的另一个使用场景是在大迎角过失速区的机动控制赋能,其面临的设计问题是“控什么”“如何应对不确定扰动”。
5.2.1 大迎角被控变量构建和飞/发控制分配
传统的飞行控制横航向控制的目标主要是实现飞机的绕速度轴滚转、满意的荷兰滚模态特性;其中横向的控制输出是副翼指令,航向是方向舵指令,二者间互有交叉协调。但进入大迎角区后,受非定常流场气动影响,副翼、方向舵效率均会急剧下降甚至反向,故多型飞机应对失速尾旋的典型止旋策略均是采用差动副翼策略。
而具体到大迎角的过失速机动控制,则更加强调飞机姿态的稳定,即应控制体轴系的滚转速率和偏航速率。其中,需要注意的是,经典战斗机布局垂尾在背上,故负的大迎角区因垂尾仍浸润在较好的流场中而仍存在良好的方向舵控制效能,需特别纳入控制考虑。
因此,以国内首型歼-10B推力矢量验证机的设计为例,其横航向被控变量的选取随迎角而改变,在体轴系角速率、体轴滚转速率+速度轴偏航速率、速度轴滚转速率+侧滑角/体轴偏航速率之间渐变切换(如图28所示),综合产生控制力矩需求,并分别发布至推力矢量、差动副翼、方向舵以及鸭翼,最终实现安全高效的横/航向控制,解决大迎角运动耦合严重和飞/发协同困难带来的“控不住”问题。
图28
图28
过失速飞行的被控变量选择与指令综合
Fig.28
Selection of variable under control and command integration of post-stall flight
5.2.2 基于扩张状态观测器的扰动偏离估计/补偿控制方法
工程实践中,飞机在大迎角区由风洞试验数据建立的气动模型与实际飞行过程中的气动特性存在较高的不确定性,且大迎角区严重的气流分离造成了恶劣的运动耦合特性,产生非预期响应,严重影响飞行品质,甚至危及飞行安全。
图29
图29
不确定性气动特性的在线估计与补偿
Fig.29
Online estimation and compensation of uncertain aerodynamic characteristics
由此给出的启示是,传统控制方法以慢求稳,而非传统的扰动补偿则是用快和准来以动制动,二者结合可在工程上获得较好收益。鉴于大迎角过失速机动的本质可以归为可控的失速和尾旋,故此类推力矢量的融合控制策略亦可无缝地应用于失速边界的保护、自动改尾旋等场景。
5.3 发动机推力矢量的实现形式
目前发动机推力矢量的实现形式有机械式和流体式两类。
传统机械式发动机推力矢量通过喷管的机械偏转改变发动机推力线方向,从而产生矢量力和附加力矩。主要形式包括燃气舵、轴对称偏转(如歼-10B推力矢量验证机)、纵向二元偏转(如F-22)、非对称二元偏转(如苏-35)等。
图30
流体式推力矢量技术通过调节喷管内部流场的方式实现推力矢量,相对机械式而言具有结构简单、重量轻等特点,目前常见的流体式推力矢量喷管有激波矢量、双喉道、同向流、逆向流等几种类型,如图31所示[49]。其中,激波矢量、同向流、逆向流等有源型流体式推力矢量喷管方案均需要从发动机引气或额外增加高压气源,会导致发动机推力性能的降低或系统复杂度和重量的增加。因此,无源型双喉道流体式推力矢量喷管更具优势,也成为近些年的研究热点,如旁路式双喉道流体式推力矢量喷管通过施加旁路分流扰动,在喷管扩张段形成回流区从而形成喷流偏转效应[50-51],如图32所示。但流体式推力矢量喷管方案在实现工程应用前,仍面临战斗机包线范围在不同工况下喷管性能与矢量控制的综合设计、飞机外流速度对喷流矢量效率的影响、喷管气动与冷却结构的工程实现性等挑战。
图31
图32
因此,综合考虑气动效率、隐身、控制与结构重量等因素,二元机械式、无源型流体式推力矢量喷管对高性能战斗机设计更为有利,但流体式推力矢量技术距离工程实际应用仍有不小距离。
6 面向全机能量优化的飞/发协同设计
面向未来高性能战斗机高能耗、高热耗的使用特点,传统能源获取和管理体制不堪重负,成为制约战斗机性能发挥的主要因素[52],解决这个问题需要进行能源体制的彻底革新,并真正实现飞、发两方在能源上的“一体”:
1) 全机能源体制统一,机内全电传递,在使用端转换为需用的能源形式。
2) 飞/发能源一体,统一配电管理,取消独立的飞机附件和发动机附件。
3) 飞/发热管理一体,拉通管理热源,挖掘燃油热沉并探索新型热沉。
6.1 飞/发能源综合设计
飞机和发动机运行所需的能源主要来自于发动机(机载储能和辅助/应急动力除外)。传统上发动机附件机匣提取的轴功率经过飞机附件机匣转化分配后为飞机平台提供能源,机载供电系统通过发电机从飞机附件机匣提取轴功率,转化为电能以支持机载用电设备运行;机载液压系统通过液压泵从发动机附件机匣提取轴功率,转化为液压能以支持舵机等液压作动设备运行;机载环控系统则直接从发动机压气机引气,通过换热器、涡轮等部件转换为冷空气以支持座舱和电子设备冷却,如图33所示。
图33
图33
飞机与发动机常规能量流转拓扑示意
Fig.33
Conventional topology of airframe-engine energy flow
全电架构使用电力作动取代液压、气压和机械作动,不仅使得能源类型纯粹,简化了机载系统的复杂程度和系统规模,减轻了系统重量和体积,更重要的是全电架构状态监测方便、系统灵活可控,在实现面向能量优化的能源管控策略时具有天然的优势。更进一步,由于能源体制的统一,存在更多功能复用的可能,可以从物理层面进行综合设计,从而减小系统重量,如图34所示。
图34
图34
飞/发一体全电能源架构
Fig.34
All electric energy architecture of airframe-engine integration
全电架构飞机能够实现对全机能源需求的“峰谷均衡”,降低能源总需求。传统飞机上电能、液压能和气体能源等并存的混合能源架构,各类能源往往无法互相转换,总的能源需求只能通过简单峰值叠加,未来兆瓦级能源需求将大大超出发动机允许的提取能力。全电飞机能够通过能源形式的转换,满足任务不同阶段的高能源需求。例如在超视距攻击阶段,飞机优先使用传感器争取先视先射,快速改变机动状态的需求不强,可集中向雷达、电子战等系统供电,而作动器只需少量电能驱动。而在导弹规避阶段,跟踪目标的优先级大大降低,可减少对雷达的供电,把大部分电能转换为电液作动器的液压功率,驱动舵面快速偏转,急剧改变机动状态。对典型战斗机飞行任务过程中(包括地面开车舵面检查在内)作动能源的使用情况统计分析表明,全机作动器实际使用流量达到液压系统额定设计流量10%以上的累计时间不超过整个任务剖面总时间的15%,流量20%以上不超过总时间的7%,流量30%以上不超过总时间的4%,如图35所示。以F-22为例,其液压功率达560 kW,如在能飞行任务的大部分时间中,将部分液压功率替换为电能使用,可使全机可用电能(原安装2台65 kW发电机)倍增[53]。
图35
图35
典型战斗机液压系统流量-时间占比统计均值
Fig.35
Average flow-time proportion of hydraulic system in a typical fighter
全电架构飞机能够取消飞附机匣和发附机匣,采用嵌入发动机的起发电机,通过功能复用实现发电机与起动电机的一体化设计,可显著降低发动机外廓尺寸,从而降低对飞机机体空间需求。
全电架构飞机通过取消高温、高压管路,可优化飞机的空间布局,并使热源和液体防护变得更为简单。电源系统的多余度设计可提高系统可靠性,使之具有容错和故障后重构的能力,并为用电设备提供高质量的电源,改善供电品质,电子元件故障更容易诊断、监测和状态预测。
全电架构飞机采用电机驱动闭式空气循环制冷系统,相比于采用开式空气循环制冷的常规系统,减少了从发动机的引气,且随着高速电机技术发展,电环控相关附件重量结构尺寸进一步减小。
最后,采用电动燃油泵替代传统飞机和发动机的机械泵。由于传统燃油泵按照峰值设计供油能力,在巡航等状态功效比低,不仅浪费能源且给热管理带来更多废热,通过采用变频的电动燃油泵,根据需求调整供油能力,能有效减少能耗和热载荷。
6.2 飞/发一体的热管理与能量耗散优化设计
飞/发一体热管理技术打破了传统分界面(飞/发接口燃油温度限制、热沉不共享),以提升全机热沉利用率为目标,通过建立具备全机冷热流灵活调控的飞/发一体综合换热柔性架构,结合热负载需求与热沉能力动态预测、热沉自适应选取与快速响应策略,基于多时空尺度蓄热与散热的控制方法,最终实现全机热载荷高效收集、传输与排散。
6.2.1 燃油热沉综合利用
在飞机热管理系统和发动机热管理系统中燃油都是重要的工质和主要排热途径[54]。发动机入口燃油温度目前设有上限值Tmax(通常为80~120 ℃),以便为发动机预留其自身热管理所需的热沉。这虽然简化了发动机自身的热管理设计,但会造成燃油有时无法以最高允许温度(约200 ℃)喷入燃烧室,降低燃油热沉利用率。
飞/发热管理综合将燃油回油点从两处减少为一处,取消发动机入口温度限制,根据发动机燃烧室入口温度及发动机滑油供油温度、后腔滑油出口温度,灵活调节发动机回油流量,使得燃油始终能够以最高允许温度喷入发动机燃烧室内,有效提升燃油热沉利用率,如图36所示。
图36
图36
飞/发燃油热管理综合原理示意
Fig.36
Schematic diagram of airframe-engine integrated fuel thermal management
6.2.2 空气热沉综合利用
冲压空气、进气道空气、发动机涵道空气等环境空气是除燃油外机载热管理系统最常用的热沉。使用冲压空气需要在飞机表面开设冲压口,影响飞机隐身效果,在飞机设计中会尽量减少冲压引气。因此,在未来战斗机设计中,机载热管理系统能够使用的冲压空气热沉量是十分有限的。进气道空气流量大、温度较低,且进气道散热器对飞机隐身效果带来的负面影响小,是十分优质的热沉来源。为保证飞机进气道性能,进气道散热器无法直接安装在进气道中,热交换面积有限,因此进气道散热器体积与重量较大。发动机外涵道空气流量大,虽因经过发动机低压压气机增压,温度较进气道空气温度更高,但涵道空气对于热管理系统散热器的设计限制较少,涵道散热器可以设计得更轻更小。
如图37所示,从涵道空气散热器和进气道散热器的冷边温度、效率、散热功率对比可知,机载热管理系统利用发动机涵道空气作为热沉是可行的,进而可减小散热器的重量体积,有利于减少战机燃油消耗,提升机动性。
图37
图37
进气道散热与涵道散热对比
Fig.37
Comparison of inlet heat exchange and bypass heat exchange
需要注意的是涵道空气温度较高,当其作为飞机热管理系统热沉,则机载系统更适合采用空气循环冷却方案而非蒸发制冷。
6.2.3 柔性管理架构
飞/发一体的柔性热管理架构,能够支持热传输路径重组及热沉动态调度,通过“削峰填谷”的方式进一步提升全机的热沉利用效率。
利用蒸发循环蓄冷、高温油箱蓄热等技术建立飞机热管理系统与发动机热管理系统的冲压空气、涵道空气、燃油、滑油等热沉可相互转化的硬件系统架构,结合温度梯度规划、热沉评估、任务预测等手段,以多目标优化控制为目的,建立自适应控制策略,实现飞机与发动机一体化的热传输路径重组及热沉动态调度。
7 总结
从战斗机研制之初,飞机和发动机两方就应进行全面深入的飞/发协同设计,共同寻优。本文回顾了战斗机飞/发协同设计的理论和实践历程,面向未来高性能战斗机发展需求,从飞行性能、隐身特性、飞行控制、全机能量4个设计视角提出飞/发协调设计关键技术。
对于飞行性能,飞/发设计点应围绕空中工作状态进行匹配,进发排匹配追求“推—阻”综合最优,以满足高性能战斗机兼顾纵深穿透和交战点机动性的要求。
对于隐身特性,通过进气道-风扇一体化设计、喷管-后体一体设计化并进行飞/发参数协同优化,实现遮挡、吸收及冷却、掺混,以满足高性能战斗机拓宽频域和角域范围的雷达隐身、红外隐身要求。
对于飞行控制,综合飞机气动舵面和发动机推力矢量控制,在飞/发之间最优化控制分配策略,以满足高性能战斗机多轴控制增稳和包线边界安全的要求。
对于全机能量,飞/发能源体制向全电化综合,取消相互独立的附件;飞/发热管理一体,拉通管理热源、热沉和散热,以满足高性能战斗机高功率载荷及设备所带来的全机能源和热管理要求。
通过对关键技术的讨论,也可以看到,随着平台布局、动力以及其他新兴技术的不断发展,战斗机飞/发协同设计将会不断地加深融合、拓展范围,宽速域、智能化等未来可能的发力方向,具有广阔前景等待开展探索研究。
参考文献
V/STOL airframe/propulsion integration problem areas
[C]∥
Integrated air vehicle/propulsion technology for a multirole fighter—A MCAIR perspective
[C]∥
Engine-airframe integration during conceptual design for military application
[J].
Renewed great power competition: Implications for defense—Issues for congress: R43838
[R].
Pilot’s handbook of aeronautical knowledge: FAA-H-8083-25B
[R].
The use of the wind channel for performance prediction
[J].
A.F. Erection and maintenance instructions for army models P-51D-5,-10,-15,-20,-25,P-51K-1,-5,-10,-15 British model Mustang IV airplanes: AN 01-60JE-2
[R].
Engine-airframe integration
[J].
STOVL engine/airframe integration
[C]∥
An integrated approach to V/STOL propulsion system development and testing
[C]∥
Correlation of F-15 flight and wind tunnel test control effectiveness
[C]∥ North Atlantic Treaty Organization Advisory Group for Aerospace Research and Development.
飞发一体化设计的关键技术
[J].
Key technology for aircraft/engine integration design
[J].
Airframe-propulsion integration for fighter aircraft
[C]∥
Fighter aircraft/propulsion integration
[C]∥
Fighter airframe/propulsion integration—A General Dynamics perspective
[C]∥
Fighter airframe/propulsion integration—A McDonnell Aircraft perspective
[C]∥
Fighter airframe/propulsion integration—A rockwell perspective
[C]∥
Fighter airframe/propulsion integration—A Wright Laboratory perspective
[C]∥ AIAA/SAE/ASME/ASEE
新一代飞机自适应动力与热管理系统研究
[J].
Adaptive power and thermal management system for new generation aircraft
[J].
An operational imperative: The future of air superiority
[C]∥
Piecing together the NGAD puzzle
[J].
Just wait
[EB/OL]. (
Skunk works unveils updated next-gen fighter concept
[EB/OL]. (
MDAO for conceptual aircraft design at northrop grumman
[EB/OL]. (
Supersonic flight test results of a performance seeking control algorithm on a NASA F-15 aircraft
[C]∥
美国自适应发动机技术转化应用前瞻
[J].
Foresight of U.S. Adaptive engine technology transformation
[J].
可调整的超音速进气道
Adjustable supersonic air inlet
变循环发动机控制规律设计方法研究
[D].
Research on variable cycle engine control schedule design
[D].
双涵道S 弯喷管内/ 外流场的温度分布研究
[J].
Temperature distributions of internal flow and external jet fields of double serpentine convergent nozzle for turbofan
[J].
双S弯喷管的流固耦合特性研究
[J].
Fluid-structure interaction characteristic of double serpentine nozzle
[J].
ПЛОСКОЕ СОПЛО ТУРБОРЕАКТИВНОГО ДВИГАТЕЛЯ
低红外特征涡扇发动机总体设计若干问题研究
[D].
Research on some problems of overall design of low infrared characteristic turbofan engine
[D].
F-22 Raptor in action at Farnborough Air Show
[EB/OL]. (
飞行器红外隐身设计评估软件及二元喷管隐身技术研究
[D].
Research on infrared stealth design evaluation software for aircraft and dual nozzle stealth technology
[D].
Nacelle air pump for vector nozzles for aircraft
Simulator study of stall/post-stall characteristics of a fighter airplane with relaxed longitudinal static stability: NASA-79-TP-1538
[R].
Thrust vectoring nozzles of lockheed martin F-22 raptor
[EB/OL]. (
流体推力矢量技术研究综述
[J].
Advances influidic thrust vectoring technique research
[J].
新型双喉道气动矢量喷管机理与关键技术研究
[D].
Research on the key technology of new dual throat fluidic vectoring thrust nozzle
[D].
双喉道气动推力矢量喷管的现状及将来
[J].
Research status and development trend of dual throat fluidic thrust vectoring nozzle
[J].
Integrated Vehicle Energy Technology (INVENT) overview
[C]∥
/
| 〈 |
|
〉 |


