高性能战斗机与发动机协同设计关键技术
王海峰
Key technologies in collaborative airframe⁃engine design for high performance fighters
Haifeng WANG
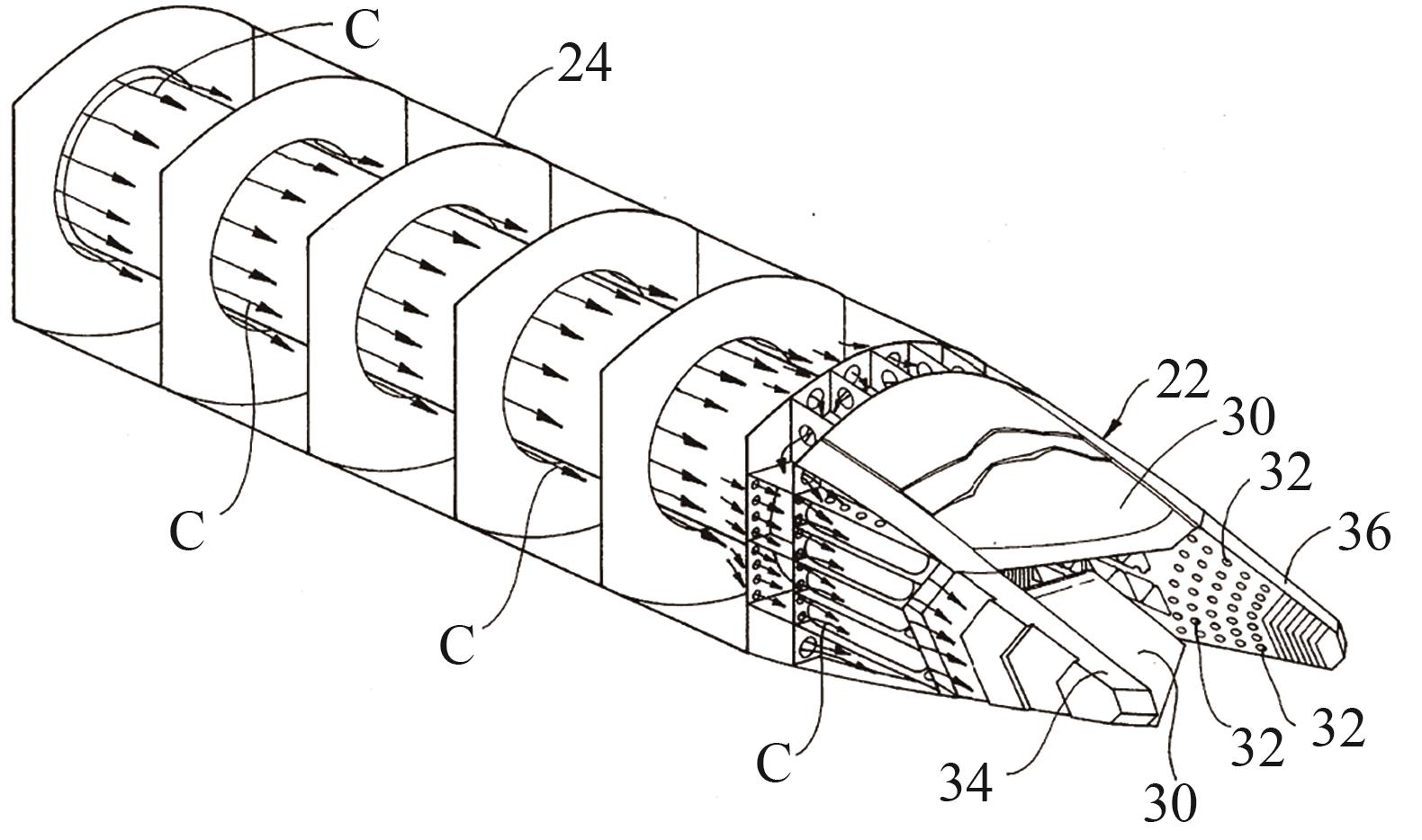
图24
F119发动机的引射冷却结构
[
44
]
Fig.24
Proprietary ejector cooling structure of F119 engine
[
44
]